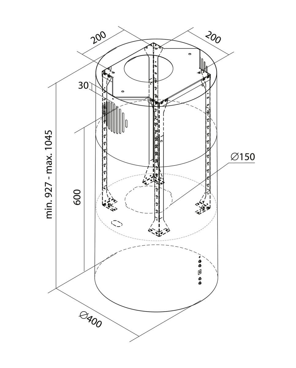
Hota insula Tubo Eucalyptus

https://nortberg.ro/hota-insula-tubo-eucalyptus.html