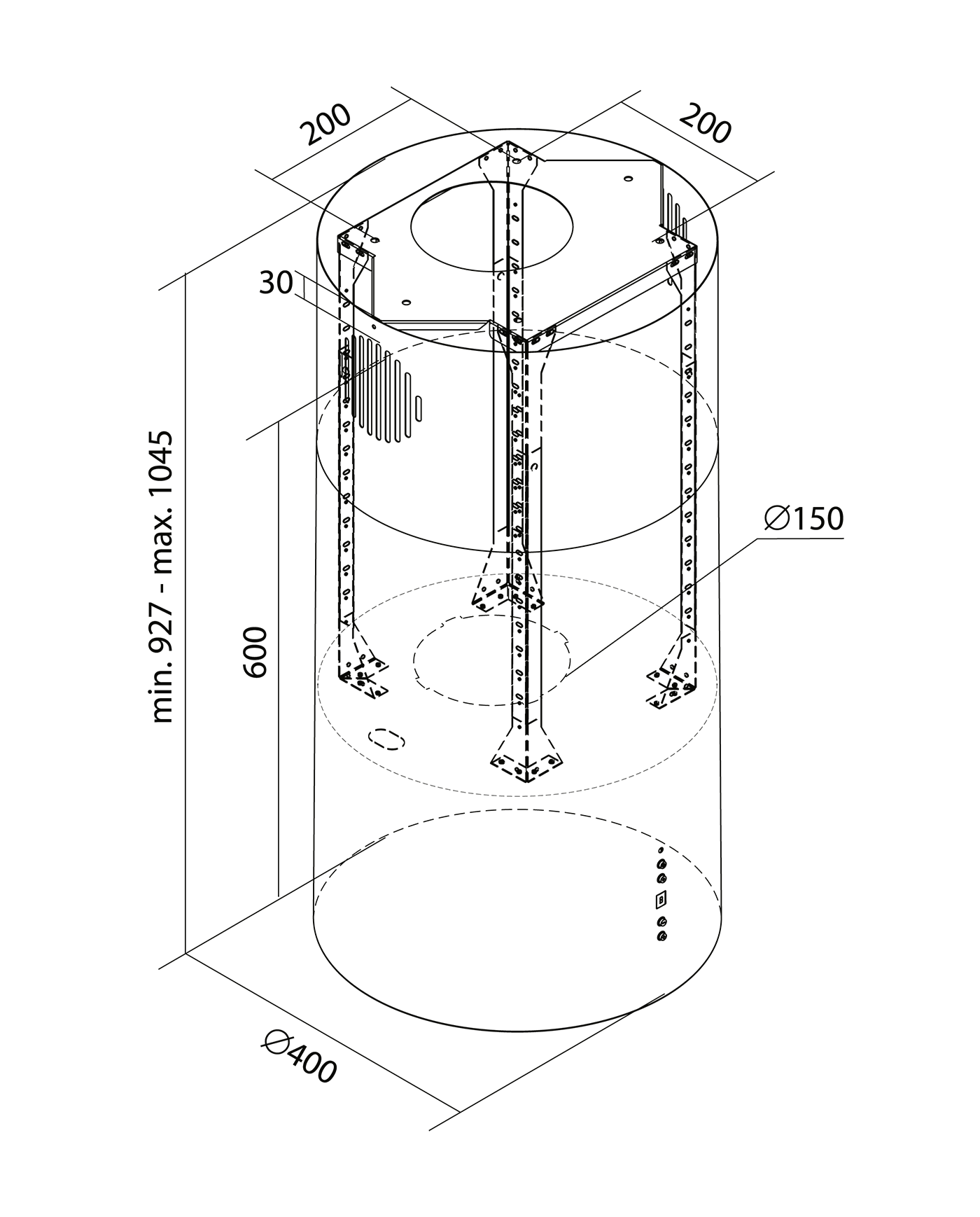
Hota insula Tubo Kashmir

https://nortberg.ro/hota-insula-tubo-kashmir.html