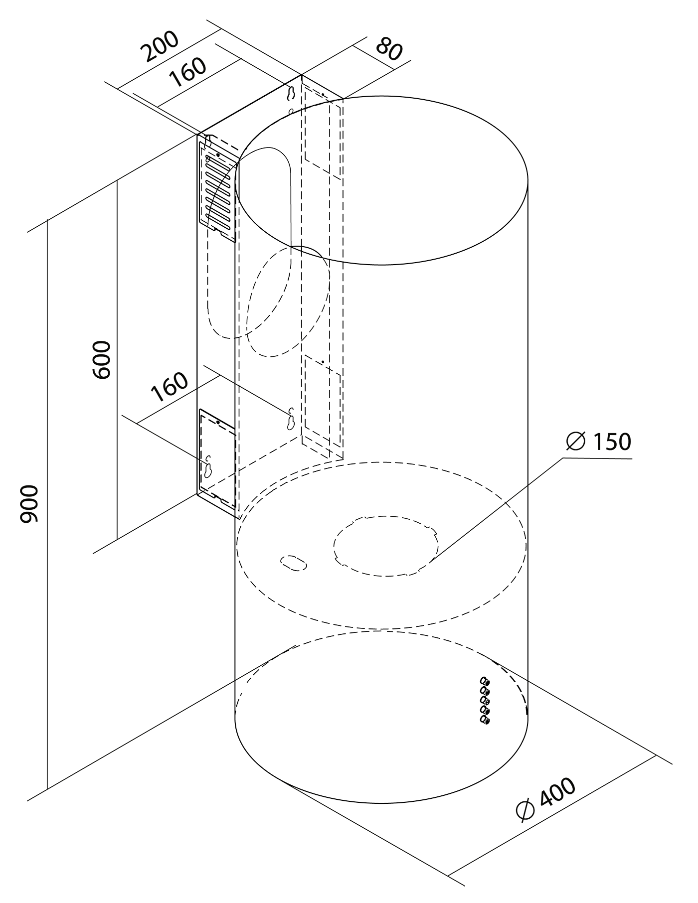
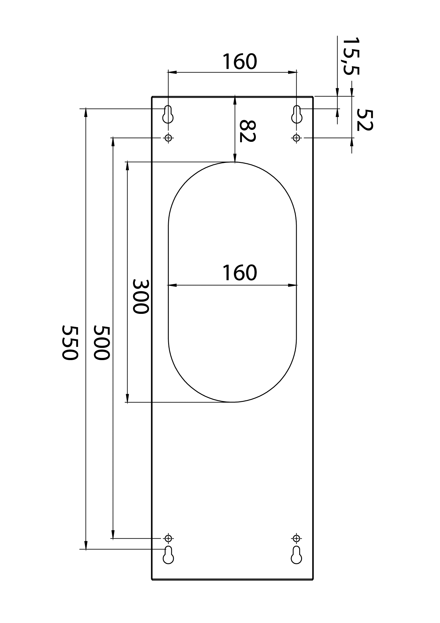
Hota decorative Cylindro OR Eco Kashmir

https://nortberg.ro/hota-de-perete-cylindro-or-eco-kashmir.html