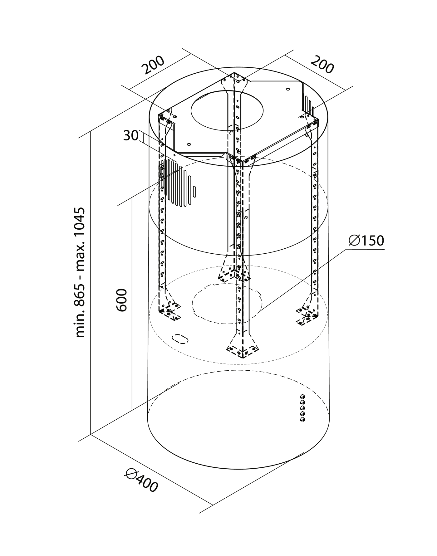
Hota insula Cylindro Eco Kashmir

https://nortberg.ro/hota-insula-cylindro-eco-kashmir.html