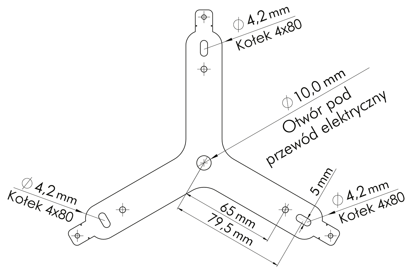
Hota insula Ameris Black Matt

https://nortberg.ro/hota-insulara-suspendata-ameris-black-matt.html